Читать книгу 📗 "Ремонт часов - Беляков И. С."
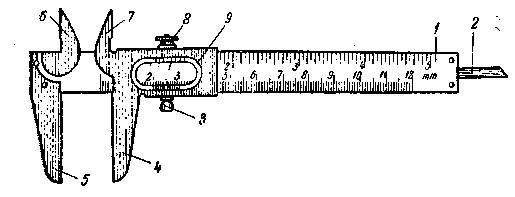
Высокая точность определения размеров обрабатываемых деталей требует применения более точного измерительного инструмента, например штангенциркуля. Наиболее удобно пользоваться штангенциркулем «Колумбус» (рис. 57).
Штангенциркуль «Колумбус» снабжен нониусной шкалой. На движке в вырезе со скошенными краями внизу нанесено 10 рисок. Первая риска слева на нониусе считается нулевой риской. Деления на штанге 1 и мониусе 9нанесены так, что когда ножки 4— 5штангенциркуля сдвинуты плотно, нулевая риска нониуса точно совпадает с нулевой риской штанги, а десятое деление нониуса — с девятой риской штанги. Если при передвижке ножки 4нулевая риска прошла несколько дальше цифры 5,значит размер данной детали более 10 мм;чтобы определить, на какую величину этот размер больше 10 мм,смотрят, с какой риской на штанге лучше всего совпадает нулевая риска нониуса 9.И затем отсчитывают, сколько рисок на штанге после 10 мм.Если при подсчете оказалось, что нулевая риска нониуса 9прошла вперед на шесть рисок, подсчитанных на штанге 1, значит измеряемая деталь имеет размер 10,6 мм.

Рис. 56. Швейцарская десятичная мерка
Во время измерения достаточно, чтобы губки штангенциркуля плотно подошли к измеряемой детали, но не следует их прижимать с большим усилием.
Если ножки (4 — 5)плотно прилегают одна к другой и нулевые линии (риски) совпадают одна с другой совершенно точно, без просвета по всей их длине, значит штангенциркуль исправен.
Чтобы штангенциркуль был в полной исправности, следует держать его в кожаном или брезентовом футляре. Его нельзя бросать, держать вместе с другими инструментами, так как неосторожный, хотя бы легкий удар по рабочей части ножек может его повредить.

Рис. 57. Штангенциркуль «Колумбус»:
1 — основная линейка; 2— выдвижная линейка-нутромер- 3 —головка для передвижки ножки; 4 —ножка передвижная; 5 —ножка непередвижная- 6 —левая острая ножка; 7 — правая острая ножка; S — гайка для закрепления ножки; 9 —вырез с нониусом
Опиловка и полировка-цапф.Для доводки и исправления цапф осей служат мелкий бархатный .напильник, а для полиров-ки — воронило. Каждый из указанных инструментов имеет две рабочие стороны. Одна сторона, с прямыми острыми углами, предназначается для доводки, исправления и полировки цапф трибов и других деталей с прямыми основаниями, другая, овальная, — для доводки, исправления и полировки цапф оси баланса.
Во время работы воронило смазывают маслом. Чтобы масло не окатывалось, на ворониле делают мельчайшую насечку, проводя воронилом по наждачной бумаге.
Шлифовка и полировка винтов и плоских деталей.Стальные детали (винты, пружины и др.) шлифуют на матовом стекле, покрытом мелким наждачным порошком с маслом. Можно также шлифовать на специальном мелкозернистом камне.
При шлифовке и полировке винтов их закрепляют в специальном пинцете (рис. 58).
Ремонтуарные колеса с углублениями закрепляют шеллаком в специальной державке и шлифуют на токарном станке, вращающемся в одну сторону. Колесо шлифуют палочкой, на которую набирают наждачный порошок, смешанный с маслом; полируют также палочкой, на которую набран диамантин с маслом или крокус с маслом.
Окончательную отделку детали получают при полировке мягкой кожей или замшей с незначительным количеством крокуса.

Рис. 58. Пинцет для шлифовки и полировки винтов:
1 — паз в пинцете для удержания винта; 2— направляющий штифт с отверстием на противоположной стороне для устойчивости пинцета

Рис. 59. Приспособление для шлифовки — наждачная бумага «двух-нолька», наклеенная на деревянную пластинку
Шлифуют также очень мелкой наждачной бумагой, наклеенной столярным или другим клеем на деревянную дощечку (рис. 59).
Нарезание резьбы.Для нарезания наружной резьбы пользуются плашками или винтовальной доской. Чтобы нарезать винт или наружную .резьбу (например, на заводном валике), надо взять материал, диаметр которого был бы несколько больше диаметра данной детали.
Место нарезаемой резьбы обильно смазывают маслом. Если нарезаемая деталь вращается туго, то ее следует медленно поворачивать то в одну, то в другую сторону. Конец нарезаемой детали делают коническим, что облегчает начало нарезания резьбы. После нарезания конус стачивают. Внутреннюю резьбу нарезают метчиком, который делают с тремя или четырьмя канавками, если позволяет толщина метчика. Конец метчика затачивают на небольшой конус (рис. 60).

Рис. 60. Метчики для нарезания резьбы
В винтовальной доске должно быть два ряда отверстий с одинаковой резьбой. Один ряд — для предварительной, а другой для окончательной нарезки резьбы (рис. 61).

Рис. 61. Винтовальная доска:
1 — для черновой нарезки; 2 — для чистовой нарезки
При необходимости изготовить винт с левой резьбой следует сначала изготовить винтовальную доску. Для этого при помощи винтовальной доски с лравой резьбой нарезают метчик, а затем опиливают его с двух сторон, придавая овальную форму (рис. 62). Оставшаяся по бокам нарезка должна быть тонкой, как лезвие ножа. Такой метчик вводят в отверстие стальной пластинки толщиной до 2 мм,затем, вращая метчик влево, нарезают левую резьбу. После этого пластинку закаливают и отпускают до светло-соломенного цвета. Пользуясь такой пластинкой, как винтовальной доской, можно нарезать левый винт. Для нарезания в отверстиях левой резьбы мелкие правые метчики опиливают с двух сторон на плоскость и, вращая влево, вводят в отверстия.

Рис. 62. Метчик для винтов с левой резьбой
Сверление.При отсутствии стандартных сверл нужного размера их можно изготовить самому. Для сверления твердых металлов обычно применяют перовые сверла (рис. 63).
Рабочая часть сверла, применяемого для сверления мелких отверстий (например, для цапф оси баланса или триба), должна быть тонкой и короткой, а хвостовик сверла — в два-три раза толще, чтобы сверло было достаточно устойчивым.
Сверла изготовляют из круглой стали-серебрянки. При изготовлении болванки сверла оба конца опиливают на конус для образования центров, если сверло обтачивают на токарном станке. После этого один конец заготовки сверла опиливают в виде плоской лопаточки, одновременно опиливая и режущие кромки. У сверл малых размеров для получения лопаточки конец расплющивают молотком, но перед этим конец немного опиливают, чтобы при осаживании металла не появились трещины.
После изготовления сверло закаливают в масле и отпускают до светло-соломенного цвета.

Рис. 63. Три вида перовых сверл: 1— одностороннее перовое сверло, режущее в одну сторону; 2— двустороннее сверло, режущее в обе стороны; 3 —полукруглое сверло для сверловки твердых металлов
При ремонте часов отверстия сверлят различными способами. Когда сверло находится в вертикальном положении, то есть деталь лежит на верстаке, сверло закрепляют в ручной детали или в ручных тисочках и вращают его в разные стороны. При сверлении на токарном станке сверла закрепляют или в патроне задней бабки, или в ручных тисочках, лежащих на подручнике токарного станка. В заднем торце просверливаемой детали должен быть конус, который входит в спицу станка.
