Читать книгу 📗 "Лекции по схемотехнике - Автор Неизвестен"

Рисунок 49 D-триггер, тактируемый фронтом, — а) и его УГО — б).
5.1.3 Триггер Т-типа (Счётный триггер)
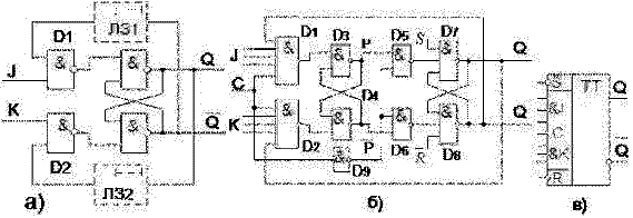
Т-триггер или счётный триггер, имеет один счётный вход Т и два выхода (Рисунок 50,а). Функционирование триггера определяется уравнением:

Из уравнения следует, что Т-триггер каждый раз изменяет своё состояние на противоположное с приходом на счётный вход Т очередного тактирующего импульса длительностью tи. Этому способствует наличие перекрёстных обратных связей с выходов триггера на входы элементов D1 и D2. Для надёжной работы триггера, с целью сохранения информации о предыдущем состоянии триггера в момент его переключения, в схему вводят элементы задержки, имеющие время задержки tз>tи.

Рисунок 50 Т-триггеры: — а) структурная схема, б) УГО TV-триггера,
в) Т-триггер на основе D-триггера.
По окончании действия тактирующего импульса.
Пусть в исходном состоянии Q=1. Сигнал T=1 откроет элемент D2, так как на втором входе D2 имеется сигнал лог «1» с выхода Q, а элемент D1 будет закрыт. Триггер переходит в состояние Q=0. Вентиль D2 остаётся открытым в течение времени tи, т.к. сигнал Q=1 будет задержан ЛЗ1 на время τз>tи. В то же время сигнал

По окончании действия тактирующего импульса элементы D1 и D2 закроются, так как потенциал входа T=0. После чего на вход элемента D1 через ЛЗ2 поступит сигнал

Роль ЛЗ в Т-триггерах выполняют логические элементы с большим временем задержки tзд.р или специальные компоненты электронных схем, например, диоды с накоплением заряда.
Кроме счётного входа Т-триггер может иметь вход разрешения V (Рисунок 50,б). Сигнал на этом входе разрешает (при V=1) или запрещает (при V=0) срабатывание триггера от поступающих на вход T сигналов. Т-триггеры, имеющие дополнительный вход V, называются TV-триггерами. Наличие входа V позволяет организовать счёт в заданном временном интервале, что существенно расширяет функциональные возможности Т-триггера.
Счётный Т-триггер может быть построен на основе D-триггера, соединив инверсный выход D-триггера со входом D, как показано на рисунке 50,в. В такой схеме каждый переход 1/0 на входе C будет приводить к переходу триггера в противоположное состояние. Например, если Qn=1, то

Таким образом, из рассмотрения принципа работы Т-триггера следует, что при Т=1 спадающий фронт сигнала на входе C переводит триггер в противоположное состояние. Частота изменения потенциала на выходе Т-триггера в два раза меньше частоты импульсов на входе C. Это свойство Т-триггеров позволяет строить на их основе двоичные счётчики. Поэтому эти триггеры и называют счётными.
5.1.4 JK-триггеры
JK-триггер — это схема с двумя устойчивыми выходными состояниями и двумя входами J и K (Рисунок 51.а). Подобно RS-триггеру, в JK-триггере входы J и K — это входы установки выхода Q триггера в состояние 1 или 0. Однако, в отличие от RS-триггера, в JK-триггере наличие J=K=1 приводит к переходу выхода Q триггера в противоположное состояние. Условие функционирования JK-триггера описывается функцией:


Рисунок 51 JK-триггеры: а) асинхронные; б) тактируемые фронтом.
Триггер JK-типа называют универсальным потому, что на его основе с помощью несложных коммутационных преобразований можно получить RS и Т-триггеры, а если между входами J и K включить инвертор, то получится схема D-триггера.
Недостатком этой схемы является зависимость работы схемы от длительности тактового импульса. Импульс должен быть коротким и должен закончиться до завершения процесса переключения триггера. Для ослабления требования к длительности тактового импульса в цепи обратных связей можно включить элементы задержки, как показано на рисунке 51,а пунктиром. Однако этот путь не всегда является целесообразным.
Разработаны и применяются в основном в интегральном исполнении JK-триггеры, тактируемые фронтом тактовых импульсов, которые не чувствительны к длительности тактовых импульсов.
JK-триггеры, тактируемые фронтом, строятся по схеме MS (master-slave то есть мастер-помощник). В схеме имеется два триггера: основной D1…D4, помощник D5…D8 и цепь, разделяющая их — D9 (Рисунок 51,б).
Триггер работает следующим образом. Пусть в исходном состоянии Q=0, а

Пусть J=1, тогда с приходом тактового импульса C=1, D1 откроется, а D2 останется закрытым. Элементы D5 и D6 закроются сигналом


Несмотря на то, что на одном из входов D5 действует сигнал «1», а на одном из входов D6 — «0», они не изменят состояние вспомогательного триггера, так как на других входах элементов D5 и D6 действует сигнал лог. «0» с инвертора D9.
По окончании действия тактового импульса, появится сигнал лог. «1» на вторых входах вентилей D5, D6, а вентили D1 и D2 закроются. Так как основной триггер находится в состоянии «1», то откроется D5 и информация запишется во вспомогательный триггер (Q=1,

Совершенно аналогично сигнал «1», поданный на вход K, установит триггер в состояние «0».
Таким образом, в триггере данного типа изменение выходного сигнала происходит только в моменты, когда потенциал «C» переходит из «1» в «0». Поэтому говорят, что эти триггеры тактируются срезом (или фронтом) в отличие от триггеров, тактируемых потенциалом.
Условное графическое обозначение триггера приведено на рисунке 51,в.
Если соединить вместе входы J и K, то JK-триггер превратится в Т-триггер. Пусть триггер находится в исходном состоянии (


