Читать книгу 📗 Леденящие звезды. Новая теория глобальных изменений климата - Свенсмарк Хенрик
«Мы решили, что можем дать вам один миллион крон на первый год, — заявили деловые люди, — пятьсот тысяч на следующий и двести пятьдесят тысяч — в третий год» [59].
Это меняло дело! Свенсмарк теперь мог удержать Марша в команде и нанять ученого-экспериментатора из физической лаборатории Института Нильса Бора. Йенс Олаф Пепке Педерсен, специалист по столкновениям быстрых частиц и атомов, стал главным соратником Свенсмарка в деле развития и продвижения эксперимента «SKY». Для полномасштабных действий все еще нужны были дополнительные средства, но в любом случае в 2003 году перспективы стали более радужными.
Датские парламентарии могут финансировать различные специальные проекты, минуя правительственные фонды. Сделав энергичные шаги в этом направлении, Свенсмарк смог получить некоторые средства из национального бюджета. Многим показалось, что правительство совершило большую ошибку, поддержав его исследования, и это вызвало яростные нападки на Свенсмарка в датских средствах массовой информации со стороны как предпринимателей, так и некоторых ученых. Однако сумма в двенадцать миллионов крон — в двадцать раз больше гранта, выделенного Датским советом по естественным наукам на эксперимент «SKY», — обеспечила проекту следующие четыре года работы.
Свенсмарк переименовал свою группу в Центр солнечно-климатических исследований. Помимо Марша и Пепке Педерсена, к команде присоединились Ульрик Уггерхёй, физик-атомщик из Орхусского университета, и аспирант Мартин Энгхофф. Теперь, когда у них был надежный источник финансирования, ученые смогли приобрести все необходимое оборудование, и группа наконец приступила к эксперименту.
Оглядываясь назад на эту небольшую сагу, историки науки могут лишь гадать, почему и Киркби в Женеве, и Свенсмарку в Копенгагене пришлось пережить такую нервотрепку, чтобы получить одобрение и средства на свои проекты стоимостью всего несколько миллионов долларов. Ведь мир каждый год тратит миллиарды долларов на изучение климата. Пищей для дальнейших размышлений историков науки могут послужить также утверждения оппонентов, к числу которых относились иные из очень даже именитых ученых, будто они были уверены в отрицательном результате эксперимента. Свенсмарк сам не знал, какой сюрприз ожидает его, когда после долгих мытарств незадолго до Рождества 2004 года наконец началось систематическое проведение эксперимента.
Трубки, насосы, циферблаты и электронные приборы, окружающие двухметровый короб с воздухом, придавали копенгагенскому подвалу вид машинного отделения на корабле. Это впечатление было отчасти верно, потому что, судя по качеству воздуха в коробе, вы вполне могли быть посреди Тихого океана, а не в центре европейского города. Короб, или по-научному «реакционная камера», был сделан из многослойного майлара с тефлоновым покрытием и содержал семь кубических метров обычного воздуха, пропущенного через пять различных фильтров.
Чтобы исключить возможность проникновения сквозь фильтры каких-нибудь примесей, экспериментаторы могли наполнять камеру даже более чистым воздухом, смешав в нужной пропорции азот и кислород из баллонов. Следовало решить и проблему азота — вдруг его молекулы играют какую-нибудь химическую роль в образовании «точек»? Чтобы проверить это, на некоторых стадиях эксперимента азот в «синтетическом» воздухе заменяли аргоном, однако это ни разу не повлекло за собой никаких изменений. Исключение азота позволило ученым отбросить целый ряд возможных реакций с участием положительно заряженных ионов. Вместо этого экспериментаторы сосредоточили свое внимание на самых проворных из отрицательных ионов — электронах.
Температура и влажность воздуха в реакционной камере находились под постоянным контролем, приборы измеряли также следы присутствовавших там двуокиси серы и озона. Роль Солнца выполняли семь ультрафиолетовых ламп, горящих то непрерывно, то периодами по десять минут. Детектор сверхмалых «точек» регистрировал продукты химических реакций.
Эксперимент начался с того, что ученые дали в камеру несколько вспышек ультрафиолета. Это сразу привело к образованию сверхмалых «точек» — они рождались точно так же, как и в естественных условиях над Тихим океаном, в полном соответствии с открытием, сделанным во время того самого полета «Ориона». Ультрафиолетовое излучение способствовало стремительному образованию молекул серной кислоты. И хотя молекул серной кислоты было намного меньше, чем того требовала старая «лобовая» теория каплеобразования, эти молекулы тем не менее быстро собирались в крохотные скопления, или кластеры.
Уже через десять минут (а на самом деле даже немного раньше) детектор начал выявлять новорожденные «точки». Как показал в дальнейшем опыт, в типичных случаях образование «точек» достигало своего пикового значения — около двух тысяч единиц на литр — в течение последующей четверти часа, даже несмотря на то, что стенки камеры «выпивали» изрядное их количество. Но даже с учетом этих потерь образование «точек» шло далее по нарастающей и доходило до десятков миллионов на литр, что совпадало с данными, полученными над Тихим океаном.

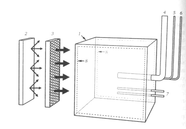
Реакционная камера
1 — камера
2 — источники ультрафиолета
3 — сотовый коллиматор
4 — подача воздуха
5 — подача озона
6 — подача сернистого ангидрида
7 — выход газа и аэрозольных частиц
8 — электроды
Эксперимент «SKY» в Датском национальном космическом центре. Космические лучи, проходившие сквозь крышу здания, попадали в пластиковый короб, содержавший семь кубометров очищенного воздуха с примесями сернистого ангидрида (SO2) и озона — именно такой состав присущ незагрязненному воздуху в естественной среде. Количество водяного пара в коробе также строго контролировалось.
Свет ультрафиолетовых ламп содействовал образованию серной кислоты, та соединялась с молекулами воды, и в результате в воздухе рождалось большое количество молекулярных кластеров. Когда на электроды подавалось высокое напряжение и электромагнитное поле «выметало» из короба электроны, высвобожденные космическими лучами, кластеров становилось заметно меньше, а когда гамма-излучение пополняло запас свободных электронов в воздухе, количество кластеров возрастало.
В общем смысле все работало даже лучше, чем ученые ожидали. Но развитие событий от одной стадии эксперимента к другой превращалось в захватывающий сюжет. Главная роль в химической драме, разыгрывающейся в закрытом коробе с воздухом, предположительно отводилась космическим лучам, так как они, пронзая потолок и исчезая в полу, оставляли после себя след из заряженных частиц. Экспериментаторы были сильно удивлены, когда начали понимать, что же происходит на самом деле.
Задумав эксперимент, Свенсмарк хотел получить простой ответ — «да» или «нет» — на вопрос, действительно ли ионы, порожденные космическими лучами, засевают воздух «точками». Чтобы проверить это, он устроил так, чтобы в камере можно было включить сильное электрическое поле, которое вымело бы из исследуемого объема воздуха все заряженные частицы. Поле должно было удалить эти частицы буквально за секунду. А ведь, согласно существующим теориям, заряженным частицам, прилетевшим извне, нужно около восьмидесяти секунд, чтобы произвести заметный эффект. Так что если космические лучи действительно что-то такое делают в воздухе, то при включенном электрическом поле «точки» просто не должны образовываться. Свенсмарк позже вспоминал, что произошло.
«Итак, был уже вечер, и в лаборатории собрались все, кто имел отношение к проекту. Эксперимент был произведен при включенном электрическом поле, и теперь оставалось лишь окончательно проверить, не осталось ли в камере ядер, индуцированных ионами, — во всяком случае, нам казалось, что эта проверка и есть окончательный ответ. Но спустя десять минут вся камера была наполнена сверхмалыми „точками“, как и раньше. Это был очень странный момент. Неужели наша идея потерпела крах?» [60]
