Читать книгу 📗 "Справочное пособие по цифровой электронике - Тули Майк"
Инвертор. Инвертор осуществляет дополнение логического состояния, т. е. логическая 1 на входе вызывает логический 0 на выходе и наоборот. Кроме того, инверторы усиливают сигнал по току и, как буферы, применяются в схемах интерфейсов.
Элемент И. На выходе элемента И логическая 1 появляется, если только все входы одновременно находятся в состоянии логической 1. Все остальные комбинации входов приводят к образованию на выходе логического 0.
Элемент НЕ-И. На выходе элемента НЕ-И образуется логический 0, когда все выходы одновременно находятся в состоянии логической 1. Любая другая комбинация входов вызывает появление на выходе логической 1. Следовательно, элемент НЕ-И — это просто элемент И с инвертированным выходом; кружок на выходе показывает эту инверсию.
Элемент ИЛИ. На выходе элемента ИЛИ появляется логическая 1, если хотя бы один из входов находится в состоянии логической 1. Другими словами, выход элемента ИЛИ соответствует логическому 0, если состояния всех входов одновременно равны логическому 0.
Элемент НЕ-ИЛИ. Элемент НЕ-ИЛИ выдает на выходе логическую 1, если только все его входы одновременно находятся в состоянии логического 0. Любая другая комбинация входов вызывает появление на выходе логического 0. Нетрудно заметить, что этот элемент представляет собой элемент ИЛИ с инвертированным выходом. По-прежнему на инверсию указывает небольшой кружок на выходе элемента.
Элемент исключающее ИЛИ. Выход элемента исключающее ИЛИ (сумматора по модулю 2) соответствует логической 1, если один из входов находится в состоянии логической 1, а другой — в состоянии логического 0. На выходе появляется логический 0, когда логические состояния обоих входов одинаковы. Отметим, что инверторы и буферы имеют по одному входу, элементы исключающее ИЛИ — два входа, а остальные логические элементы могут иметь до восьми входов.
В таблицах истинности на рис. 2.3 в удобной форме представлены функции логического элемента. Для логического элемента с n входами получается 2n входных комбинаций, т. е. двухвходовый элемент имеет четыре входные комбинации, а трехвходовый — восемь и т. д.
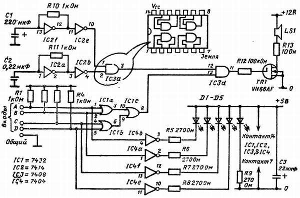
Попробуем найти практическое применение изложенному материалу. На рис. 2.4 показана схема охранной сигнализации с четырьмя входами. Каждым из входов управляет нормально замкнутое реле, которое соединяет вход с землей («общий»), т. е. обеспечивает на входе состояние логического 0. Когда реле размыкается, состояние соответствующего входа изменяется с логического 0 на логическую 1, что вызывает появление сигнала тревоги. Четыре светодиода, управляемых инверторами, индицируют логические состояния входов, а пятый светодиод показывает наличие питания. На выходе схемы включен динамик LSI, который импульсно включается с использованием звукового и низкочастотного сигналов. Эти сигналы формируют два генератора Шмитта (IC2) с времязадающими цепочками C1—R10 и С2—R11.
Рис. 2.4. Схема охранной сигнализации на четыре входа.
В микросхеме IC3 типа 7408 используются только два элемента из четырех, а два других просто оставлены незадействованными («плавающими»). На входные контакты 1 и 3 микросхемы IС3а подаются прямоугольные сигналы разных частот, а пульсирующий выход берется с контакта 3. На вставке показано соответствие элементов логической диаграмме микросхемы, а на рис. 2.5 приведена полная схема одного логического элемента. Линии питания +5 и 0 В являются общими для всех четырех элементов микросхемы. Как принято для 14-контактных корпусов DIP, питание подается на контакты 14 (+5 В) и 7 (0 В).
Рис. 2.5. Внутреннее устройство логического элемента IСЗа
Обычно, если хотя бы один из внутренних компонентов логического элемента выходит из строя, приходится заменять всю микросхему. Поиск элемента, неправильно выполняющего свою логическую функцию, можно вести разными способами, но эффективнее и проще всего воспользоваться для этой цели логическим пробником. Этот удобный и компактный прибор индицирует на светодиодах состояние входного сигнала своего зонда (щупа). Относительно длинный импульс (например, в одну секунду или более) логическим пробником, показывающим только состояния логического 0 и логической 1, обнаружить довольно легко. Короткий же импульс (0,1 с и менее) можно зафиксировать, только если в пробник встроен расширитель импульсов и третий светодиод будет включен на достаточное для визуального восприятия время.
Питание логического пробника обычно берется от проверяемой схемы с помощью двух скрученных проводников, оборудованных изолированными зажимами типа «крокодил». Для подключения пробника можно использовать любые подходящие точки, но наиболее удобно подключаться к выводам развязывающих электролитических конденсаторов или к выходам стабилизатора.
Предположим теперь, что схема охранной сигнализации не выдает звукового сигнала вне зависимости от состояний ее входов. При наличии логического пробника рекомендуется следующая процедура поиска неисправности.
1. Измерьте напряжения питания +5 и +12 В. Если любое из них слишком мало или полностью отсутствует, проверьте блок питания в соответствии с указаниями, приведенными в гл. 1.
2. Отключите все четыре входа, при этом благодаря «вытягивающим» резисторам R1—R4 на входы IС1а и IС1b (см. рис. 2.4) подаются уровни логической 1. Посмотрите на светодиоды D1—D4. Если ни один из них не светится, удалите и замените IC4.
3. Проверьте наличие уровня логической 1 на контактах 3, 6 и 8 микросхемы IC1. Если такого уровня нет, удалите и замените IC1. (Отметим, что микросхемы IС1а, IС1b и IС1с образуют четырехвходовый элемент ИЛИ.)
На выходе 8 микросхемы IC1 должен появиться высокий уровень, когда на одном или нескольких входах действует высокий уровень. Если этого нет, замените эту микросхему.
4. Теперь проверьте логическим пробником состояния входов и выходов микросхемы IC3d; на контакте 13 должен быть высокий уровень, а на контактах 11 и 12 — пульсирующий сигнал. Если на входе 12 действует постоянный высокий или низкий уровень, перейдите к шагу 6, а в противном случае — к шагу 5.
5. Если на выходе 1 микросхемы IC3 импульсов нет, а на входе 13 существует высокий уровень и имеются импульсы на входе 12, удалите и замените IСЗ. Если же импульсы на выходе 11 есть, перейдите к шагу 8.
6. Проверьте логическим пробником состояния уходов и выходов микросхемы IСЗа — на контактах 1–3 должны действовать импульсные сигналы. Если на одном или обоих входах IС3а имеется постоянный низкий или высокий уровень, перейдите к шагу 7. Когда же импульсы на входах 1 и 2 есть, а на выходе 3 их нет, следует заменить микросхему IСЗ.
7. Удалите и замените IC2. Если неисправность не исчезает, проверьте времязадающие цепочки C1—R10 и C2—R11.
8. Отсоедините питание и проверьте с помощью омметра динамик LS1 и резистор R13. Если оба элемента исправны, замените транзистор ТР1.
Глава 3
Моностабильные и бистабильные схемы
